高级检索

    基于多目标混合蚁狮优化的算法选择方法

    Algorithm Selection Method Based on Multi-Objective Hybrid Ant Lion Optimizer

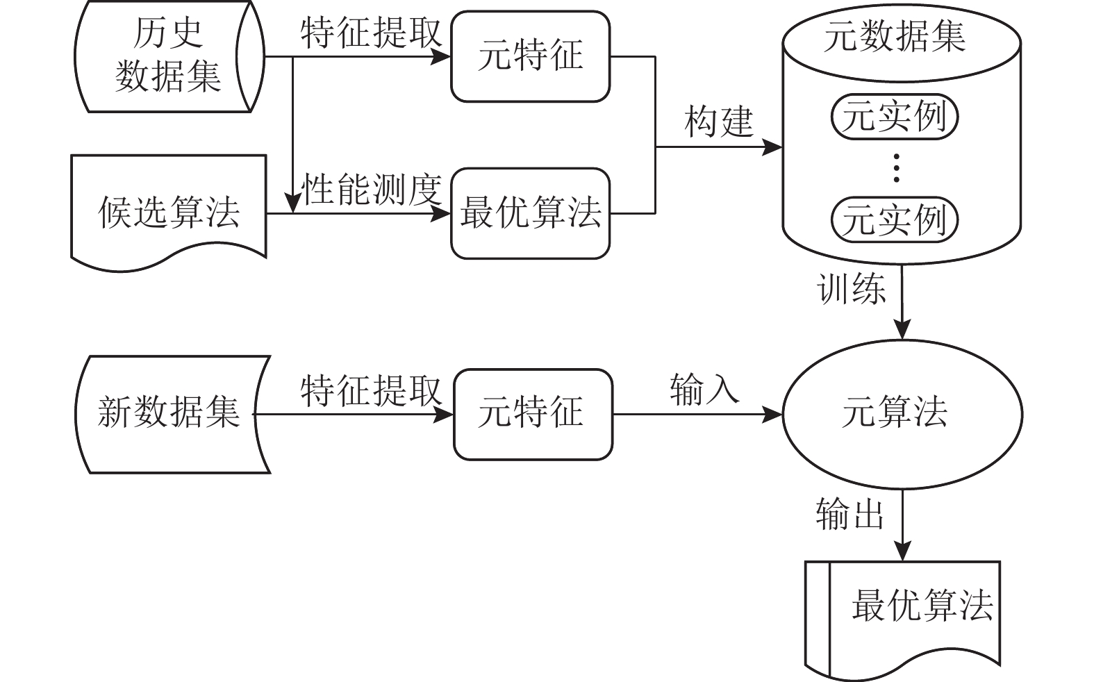
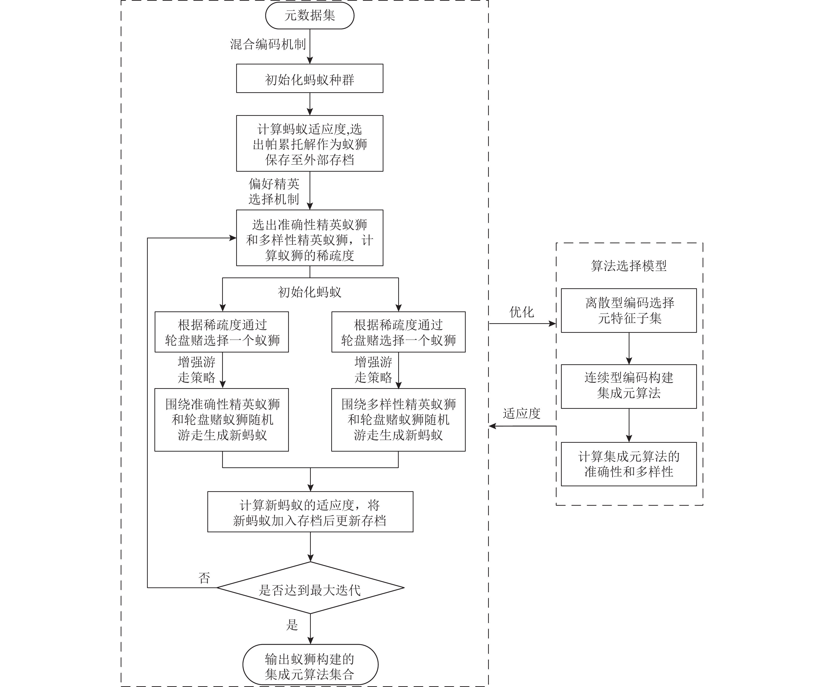
    • 摘要: 算法选择是指从可行算法中为给定问题选择满足需求的算法,基于元学习的算法选择是应用较为广泛的方法,元特征和元算法是其中的关键内容,而现有研究难以充分利用元特征的互补性和元算法的多样性,不利于进一步提升方法性能. 为了解决上述问题,提出基于多目标混合蚁狮优化的算法选择方法(SAMO),设计算法选择模型,以集成元算法的准确性和多样性作为优化目标,引入元特征选择和选择性集成,同时选择元特征和异构元算法以构建集成元算法;提出多目标混合蚁狮算法对模型进行优化,使用离散型编码选择元特征子集,通过连续型编码构建集成元算法,应用增强游走策略和偏好精英选择机制提升寻优性能. 使用260个数据集、150种元特征和9种候选算法构建分类算法选择问题来进行测试,分析方法的参数敏感性,将多目标混合蚁狮算法与4种演化算法进行比较,通过对8种对比方法与所提方法进行对比实验,结果验证了所提方法的有效性和优越性.

       

      Abstract: Algorithm selection refers to selecting an algorithm that satisfies the requirements for a given problem from feasible algorithms, and algorithm selection based on meta-learning is a widely used method, in which the key components are meta-features and meta-learners. However, existing research is difficult to make full use of the complementarity of meta-features and the diversity of meta-learners, which are not conducive to further improving the method performance. To solve the above problems, a selective ensemble algorithm selection method based on multi-objective hybrid ant lion optimizer (SAMO) is proposed. It designs an algorithm selection model, which sets the accuracy and diversity of the ensemble meta-learners as the optimization objectives, introduces meta-feature selection and selective ensemble, and chooses meta-features and heterogeneous meta-learners simultaneously to construct ensemble meta-learners; it proposes a multi-objective hybrid ant lion optimizer to optimize the model, which uses discrete code to select meta-feature subsets and constructs ensemble meta-learners by continuous code, and applies the enhanced walk strategy and the preference elite selection mechanism to improve the optimization performance. We utilize 260 datasets, 150 meta-features, and 9 candidate algorithms to construct classification algorithm selection problems and conduct test experiments, and the parameter sensitivity of the method is analyzed, the multi-objective hybrid ant lion optimizer is compared with four evolutionary algorithms, 8 comparative methods are compared with the proposed method, and the results verify the effectiveness and superiority of the method.

       

    /

    返回文章
    返回