高级检索

    国密SM4算法CBC模式的高效设计与实现

    Efficient Design and Implementation of SM4 Algorithm with CBC Mode

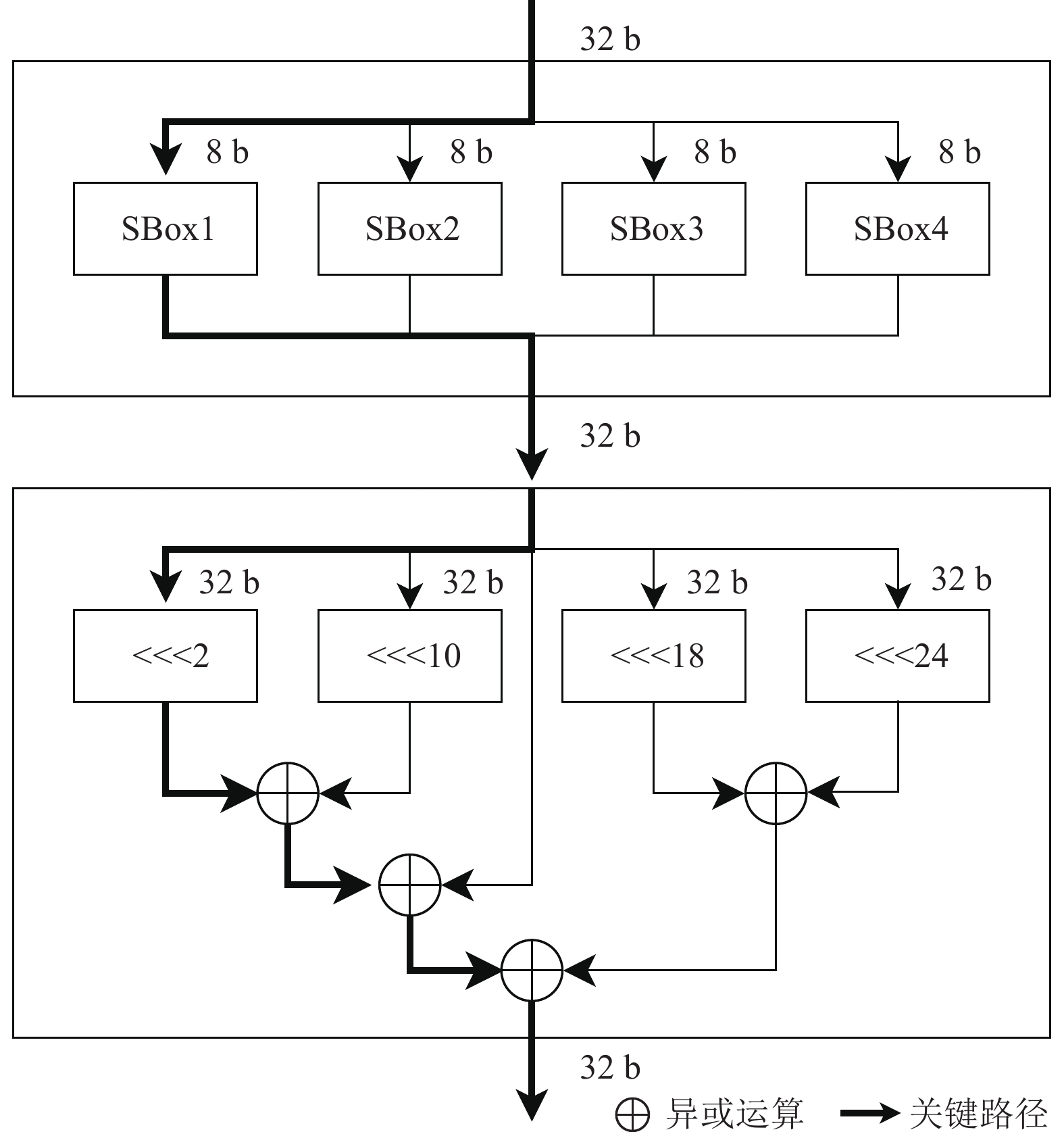
    • 摘要: 密码技术是现代信息安全技术产业发展的核心,其中,国密SM4分组密码算法因其硬件实现简单、效率高等优点,已广泛应用于加密传输、加密存储等领域. 随着应用领域的不断扩展,对硬件加密效率的需求也随之提高. 目前,借助流水线技术,基于ASIC实现的SM4算法在ECB(electronic code book)工作模式下能够达到较高的吞吐量. 然而,在CBC(cipher block chaining)模式下,由于相邻的数据存在依赖关系,流水线技术难以提高硬件设计的吞吐率. 为解决这一问题,提出了2种逻辑化简方法:一种作用于轮函数迭代过程,另一种作用于S盒置换过程. 这2种方法在每一轮迭代的关键路径中均减少了2个异或运算的延时. 在TSMC 40 nm工艺下的ASIC综合结果表明,该设计在CBC模式下的吞吐率达到4.2 Gb/s,单位面积吞吐量达129.4 Gb·s−1·mm−2,高于已发表的同类设计.

       

      Abstract: Among various cryptographic algorithms, the SM4 block cipher stands out for its simplicity and efficiency, particularly when implemented on hardware. Consequently, it has found widespread applications in encrypted transmission, encrypted storage, and beyond. As the utilization of the SM4 algorithm continues to grow, the necessity for superior hardware encryption capabilities is also increased. Recently, the implementation of the SM4 algorithm on ASIC has demonstrated high throughput in electronic code book (ECB) mode, thanks to the utilization of pipelining technology. However, in cipher block chaining (CBC) mode, achieving similar throughput improvements through pipelining is challenging due to the dependency among adjacent data blocks. To tackle this issue, we introduce two innovative simplification techniques, applied to the round function iteration process and S-box substitution process respectively. ASIC synthesis results using TSMC 40 nm technology confirm that our design achieves a throughput rate of 4.2 Gb/s in CBC mode, with a remarkable throughput of 129.4 Gb·s−1·mm−2, outperforming previously published designs in this domain.

       

    /

    返回文章
    返回